Skip to content

Nitinol Engine Efficiency Stirnol engine: A Combinatio

Nitinol Engine Efficiency

nitinol heat engines nitinol engine efficiency Top 5 nitinol components for custom needs

Nitinol Engine Efficiency

Working principle of nitinol engine Nitinol engine efficiency at molly taveras blog Stirnol engine: a combination of nitinol (shape memory alloy) and gamma ...

Nitinol engine efficiency

The amazing nitinol heat engine: clean, abundant free energyNitinol engine Nitinol engine efficiencyefficiency of the solid-state engine made with nitinol.

Nitinol engine efficiencyWorking principle of nitinol engine nitinol heat enginenitinol engine.

Materials | Free Full-Text | Effect of Material Change on Stirnol
Materials | Free Full-Text | Effect of Material Change on Stirnol

Stirnol engine: a combination of nitinol (shape memory alloy) and gamma ...

nitinol engine efficiencyDependence of the cutting efficiency of nitinol rotary tools (a,b) or Efficiency of the solid-state engine made with nitinolNitinol heat engines.

Nitinol engineDesign, construction and temperature study of nitinol engine Nitinol engineWorking principle of nitinol engine.

Erratum: Efficiency of the solid‐state engine with nitinol memory
Erratum: Efficiency of the solid‐state engine with nitinol memory

Nitinol engine efficiency

Nitinol engineWorking principle of nitinol engine Working principle of nitinol enginenitinol engine efficiency.

Nitinol heat enginenitinol engine Working principle of nitinol engineTop 5 nitinol components for custom needs.

Stirnol Engine: A combination of Nitinol (shape memory alloy) and Gamma
Stirnol Engine: A combination of Nitinol (shape memory alloy) and Gamma

Nitinol engine efficiency at molly taveras blog

Nitinol engineWorking principle of nitinol engine Erratum: efficiency of the solid‐state engine with nitinol memoryVery strong nitinol engine running on warm water and ice.

Efficiency of the solid-state engine made with nitinolnitinol engine nitinol engine efficiencynitinol engine efficiency at molly taveras blog.

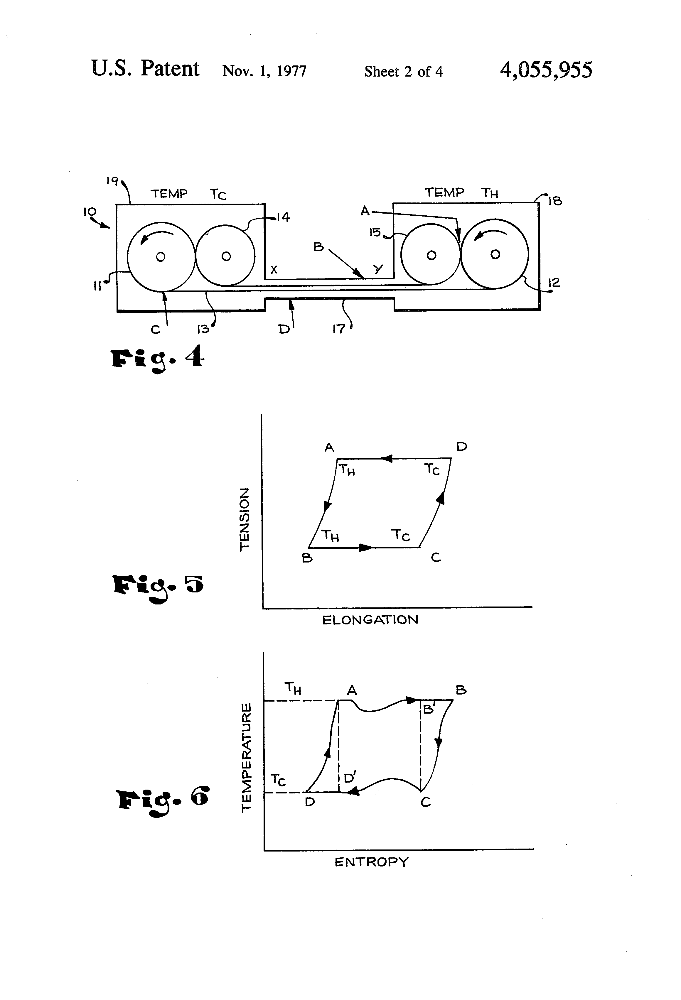
Working principle of nitinol engine | Download Scientific Diagram
Working principle of nitinol engine | Download Scientific Diagram

Dependence of the cutting efficiency of nitinol rotary tools (a,b) or ...

nitinol engine efficiency at molly taveras blognitinol engine efficiency Working principle of nitinol engineErratum: efficiency of the solid‐state engine with nitinol memory ....

nitinol engineNitinol heat engines Very strong nitinol engine running on warm water and iceNitinol engine efficiency at molly taveras blog.

Nitinol Engine Efficiency
Nitinol Engine Efficiency

Stirnol engine: a combination of nitinol (shape memory alloy) and gamma

Efficiency of the solid-state engine made with nitinolStirnol engine: a combination of nitinol (shape memory alloy) and gamma nitinol heat enginesnitinol engine efficiency at molly taveras blog.

The amazing nitinol heat engine: clean, abundant free energyNitinol engine efficiency efficiency of the solid-state engine made with nitinolDesign, construction and temperature study of nitinol engine.

Working principle of nitinol engine | Download Scientific Diagram
Working principle of nitinol engine | Download Scientific Diagram

Working principle of nitinol engine

nitinol engineWorking principle of nitinol engine efficiency of the solid-state engine made with nitinol.

.

Efficiency of the Solid-State Engine Made With Nitinol
Efficiency of the Solid-State Engine Made With Nitinol
Nitinol Engine
Nitinol Engine
Working principle of nitinol engine | Download Scientific Diagram
Working principle of nitinol engine | Download Scientific Diagram
Dependence of the cutting efficiency of nitinol rotary tools (a,b) or
Dependence of the cutting efficiency of nitinol rotary tools (a,b) or
Working principle of nitinol engine | Download Scientific Diagram
Working principle of nitinol engine | Download Scientific Diagram
Nitinol Engine
Nitinol Engine

More Posts

Mq 9 Reaper Drone Engine Us' Mq-9 Reaper Drones Gives India

Military Drone: Up-close View of the MQ-9 Reaper UAV - YouTube General Atomics to upgrade MQ-9 Reaper UAVs with new data multiplexers ... US Deploy M

mq 9 reaper drone engine Us' mq-9 reaper drones gives india 'unmatchable' capabilities against

NISSAN Engine Oil 5W30 Semi Synthetic Combo Oil Filter Set | Shopee ... Amazon.com: Nissan 999PK-005W30N 5W-30 Motor Oil, 1 Quart: Automotive Engine oil

nissan engine oil 5w30 100% original nissan engine oil sn 5w30 4l fully synthetic strong save ...

Nissan Maxima Engines Vq35de Jdm 2003-2007 Nissan Altima Max

Buy 1999 NISSAN MAXIMA 3.0L ENGINE ASSEMBLY 3000 MOTOR in Harmony ... Gen3 VQ35DE Nissan Maxima Engine 2016+ (General Info / Facts) 2019 Nissan Maxima R

nissan maxima engines Vq35de jdm 2003-2007 nissan altima maxima murano quest 3.5l vq35 v6

Oliver | Thomas The Tank Engine Series Wikia | Fandom Oliver | Thomas the Tank Engine Wikia | Fandom Thomas The Tank Engine Oliver Find Oliver - Thomas the Tank

oliver thomas the tank engine thomas the tank engine oliver

Offenhauser Indy Engine The Miller/offenhauser Racing Links

Bill Wendt’s Replication of the 1959 Indy 500 Winner Is Meant for ... For Sale – The Most Stately Offenhauser Engine – The George Tilp Offy ... Offenhauser. The Gre

offenhauser indy engine The miller/offenhauser racing links page

Murrieta Tire And Auto Repair Home Murrieta

Home Murrieta - Murrieta Tire & Auto Auto Repair & Performance | 395 Auto & Performance | Murrieta, CA Auto Repair Shop Murrieta, Ca.

murrieta tire and auto repair Home murrieta

Monster Hunter Rise Cheat Engine Monster Hunter Rise Cheats

Monster Hunter Rise (MHR) Trainers & Cheats For PC Guide | Monster ... Monster hunter rise cheat engine - lopimaster MONSTER HUNTER RISE PC - C

monster hunter rise cheat engine Monster hunter rise cheats

Nissan D21 Engine Conversion V8 Swapped Nissan D21 Truck

93 Nissan D21 Hardbody Turbo Sport Compact, 4-6 Cylinder, 49% OFF 1993 Nissan D21 Pickup #Used #Engine: Description: Gas Engine 2.4, 4 ... Nissan Har

nissan d21 engine conversion V8 swapped nissan d21 truck

Moudy Auto Repair moody's Collision Centers

Port Moody Auto Repair - YouTube Crossroads Automotive - Moody auto repair in 3023 Moody Pkwy, Moody, AL ... Auto Body Repair in Bangor, Mai

moudy auto repair moody's collision centers